Wi-Fiルーターをいわゆる「二重ルーター」で使うことはNGとする記事が多いですが、自宅ではその状態で使用しています。インターネット回線は@nifty光(フレッツ光のコラボ)で、ホームゲートウェイでIPoE接続をしています。
ルーターモードにした理由
アクセスポイントとして役立たずだったバッファローのWSR-3200AX4Sは中継器としても役立たずでした。
しかし、そんなのがAmazonのレビューでそこそこの評価を得るのだろうかと思い、売り払う前にまだ使ったことのなかったルーターモードを試してみました。いわゆる二重ルーター状態での動作です。
すると、いままでのストレスが嘘のようにしっかり動作します。さすがに機能の本丸たるルーターとしてダメだと製品としてダメなので、開発リソースは割いているんでしょうね。今どきルーターの機能はこなれているでしょうし。代わりにアクセスポイントモードと中継モードが割を食った形でしょうか。
アクセスポイントモード時とは違ってWPA3で普通にすぐつながるし、2.4GHzでも問題なくコンテンツを読み込みます。切れてはなかなかつながらないという現象もなくなりました。これなら使えます。
自宅のネットワーク構成
自宅のインターネット回線は@nifty光で物理回線はフレッツ光です。ひかり電話とフレッツ・テレビも契約しているためホームゲートウェイ(PR-600MI)があり、これがONU兼インターネットルーター兼電話ルーター兼TV用メディアコンバーター兼スイッチングハブの1台5役なので、取り外すことはできません。また、「@nifty光 v6サービス」を契約しており、ホームゲートウェイでIPoE接続(IPv6およびIPv4 over IPv6)を行っています。そのため、自前のWi-Fiルーターはアクセスポイントモードで使うのがシンプルで良いわけです。
ところが、WSR-3200AX4Sのアクセスポイントモードはいろいろとストレスが多かったため別のW-Fiルーターを買ったというのがこれまでの経緯です。
ルーターの下にルーターがあることは特別なことではないので抵抗感はないのですが、バッファローのWSR-3200AX4Sをルーターとして使うことに信用がならず、抵抗感と不安感ありありだったわけです。それ故に、予め別のWi-Fiルーターを用意してから設定変更をしました。
二重ルーター状態
構成
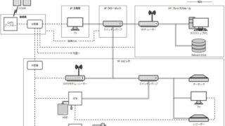
Wi-Fiルーターは以下の図の構成です。アクセスポイントモードとルーターモードの違いは、簡単に言うと図のIPアドレスの赤字の部分です。
赤字の数字がひとつ(192.168.1.xxのみ)=アクセスポイントモード = 図の1
赤字の数字がふたつ(192.168.1.xxと192.168.11.xx) =ルーターモード = 図の2

バッファローのWSR-3200AX4S購入当初は図の1のアクセスポイントモードにしていましたが、現在は図の2のルーターモードで使っています。Wi-FiルーターのWAN側のIPアドレスは手動設定をしています。背面のスイッチをAUTOからMANUALにする必要があります。
インターネットアクセス
Wi-Fiルーターをルーターモードにした場合、LAN側のIPアドレスをWAN側のIPアドレスに変換します(NAT)。この機能があるので、ホームゲートウェイからみるとLAN内のどの機器もWi-FiルーターのWAN側のIPアドレス(192.168.1.2)に見えます。そのため、ホームゲートウェイはWi-Fiルーターからのリクエストをインターネットのサーバーへ投げて、返ってきたレスポンスをWi-Fiルーターへ渡します。するとWi-FiルーターはLAN内でリクエストをしてきたもとの機器にそれを渡します。こうやって、インターネットの各種サービスがLAN内の機器で利用できるようになっています。間にルーターが挟まったところで何も問題ありません。
ただし、この状態ではWi-FiルーターのNATとホームゲートウェイのNATが動作しており、NATが二段階になります。
ネットワークのパフォーマンス
先のようにルーターを1台余分に経由してアドレス変換やファイアウォールを通ったりするので、その分がオーバーヘッドになって速度が遅くなるというのが二重ルーターのひとつのデメリットとして挙げられているものです。
実際にどの程度の影響があるでしょう?
結論から言うと、パフォーマンス面で体感できるほどの二重ルーターの影響はまずありません。
以下の速度計測はそれぞれの状態で3回計測し、もっとも結果の良かったものを載せています。
なお、計測時はルーター有無の比較のためとWSR-3200AX4Sのアクセスポイントモードは安定せず比較にならないため、Wi-Fi子機はArcher AX20に接続しています。
通常はWi-Fi子機はルーターモードのWSR-3200AX4Sに接続して使っています。それでも概ね同様のパフォーマンスです。
有線LAN接続の速度計測
はじめに有線LANで接続したデスクトップPCでの比較です。
以下は二重ルーターにはなっていない状態です。
PC
↓
スイッチングハブ(TP-Link Archer AX20 アクセスポイントモードの有線LANポート)
↓
ホームゲートウェイ
↓
インターネット
という経路です。

次にWi-Fiルーターをルーターモードで接続して二重ルーターになった状態です。
PC
↓
スイッチングハブ(TP-Link Archer AX20 アクセスポイントモードの有線LANポート)
↓
Wi-Fiルーター (Buffalo WSR-3200AX4 ルーターモード)
↓
ホームゲートウェイ
↓
インターネット
という経路です。

結果を比較。
| 有線接続 | ルーター1台 | ルーター2台 |
|---|---|---|
| IPv4 Ping | 6.0ms | 9.1ms |
| IPv4 下り | 737.34Mbps | 747.66Mbps |
| IPv4 上り | 480.18Mbps | 483.19Mbps |
| IPv6 Ping | 5.7ms | 6.9ms |
| IPv6 下り | 718.62Mbps | 763.80Mbps |
| IPv6 上り | 593.92Mbps | 566.88Mbps |
こうしてみると、Pingはルーター1台時のほうが1~3ms程度速く、データ転送速度は二重ルーターでもとくに落ち込んでいないことが分かります。まぁ、この程度だと誤差の範囲といえるかもしれません。
無線LAN接続の速度計測
次にWi-Fi 5接続のノートPC(ThinkPad E490)の場合です。
まずは先と同様に二重ルーターにはなっていない状態です。
PC
↓
アクセスポイント(TP-Link Archer AX20 アクセスポイントモード)
↓
ホームゲートウェイ
↓
インターネット
という経路です。

次にWi-Fiルーターをルーターモードで接続して二重ルーターになった状態です。
PC
↓
アクセスポイント(TP-Link Archer AX20 アクセスポイントモード)
↓
Wi-Fiルーター(Buffalo WSR-3200AX4 ルーターモード)
↓
ホームゲートウェイ
↓
インターネット
という経路です。

こちらも結果を比較。
| 無線接続 | ルーター1台 | ルーター2台 |
|---|---|---|
| IPv4 Ping | 10.5ms | 11.6ms |
| IPv4 下り | 632.38Mbps | 656.81Mbps |
| IPv4 上り | 553.51Mbps | 549.25Mbps |
| IPv6 Ping | 8.7ms | 9.9ms |
| IPv6 下り | 619.14Mbps | 653.30Mbps |
| IPv6 上り | 546.59Mbps | 564.76Mbps |
無線接続時も、Pingはルーター1台時のほうが1ms程度速く、データ転送速度は二重ルーターでもとくに落ち込んでいないことが分かります。これまた誤差の範囲といえるかもしれませんが…。
計測結果まとめ
Pingで見る応答速度に関してはルーター1台余計に経由すると1~3ms程度の遅延があります。これが間に挟まるルーターの処理によるオーバーヘッドかと思います。一方でデータ転送速度はどっちもどっちな感じです。
体感では全く違いが分からず、この応答速度の差が決定的な差となるケースもちょっと思い当たらず(ゲームなら違いが出る?)、ルーター設定の知識があるのならパフォーマンス面で二重ルーターであることのデメリットはとくに見当たりません。そもそもルーターが二重にあることよりも回線側の影響の方が大きいかと思います。
それに昨今の1Gbps以上の通信速度のルーターが原因で体感できるほど処理速度が遅くなるなど、まずないはずです。下記記事も併せてどうぞ。
ルーティング設定が必要なケース
以下の記事にまとめました。
ルーターモードで使うメリット
知識があればいわゆる二重ルーターは問題がありませんが、すでにプロバイダ提供のルーターがあってインターネットに接続するだけならアクセスポイントモードで十分です。
それをルーターモードで使うメリットはいくつかあります。
ルーターの全機能が使える
アクセスポイントモードに比べると、以下の様な機能が利用できます。
- 接続機器ごとの利用時間制限
子供は制限なくYoutubeを見続けたりするので、タブレットの利用時間を制限するために使っています。WSR-3200AX4はアクセスポイントモードでもこの機能(MACアドレスによるアクセス制限)が使えますが、そうしたところが不具合の温床にもなっていたりする? - 各種セキュリティ機能
ルーターモードならファイアウォール機能が有効になります。手前にもう一台ルーターがあるので要らないと言えば要らないですけど。
なお、バッファローのルーターに載っている「ネット脅威ブロッカー」や「i-フィルター」などのベンダー固有のセキュリティをうたう機能は全部オフにしています。とくに「i-フィルター」はhttpsをフィルタリング出来ないのでほぼ意味のない機能です。 - メッシュネットワークのコントローラー
ルーターによってはメッシュネットワークのコントローラーはルーターモードでないと使えない場合があります。Archer AX20はルーターモードにしないと管理画面にメッシュのメニューが出てきません。WSR-3200AX4SはアクセスポイントモードでもEasyMeshのコントローラーになれるようです。だから不具合が多いのか?
ファームウェアのバージョンアップで追加される(余計な)機能も概ねルーターモードでの動作を前提としているものが多いです。
ルーターの動作が安定する(?)
設定を変えてみて身に滲みましたが、ルーターモードはアクセスポイントモードに比べてとても安定しています。もっとも、バッファローのファームウェアがダメなゆえの話な気がして仕方ありませんけど。
アクセスポイントモードのほうが上記のような機能が無くてシンプルなはずですが、ただのブリッジに無線機能やらなんやら追加して無理のある状態なのかもしれません。
ネットワークの分割が出来る
これこそがルーターの面目躍如といったところです。自宅内でセグメントを分ける必要はあまりないかもしれませんが、サーバーを公開するといったときは良いかもしれません。
まとめ
ネットワークの世界でルーターが二段になっていることをわざわざ「二重ルーター」などといいません。例えばフロアごとにネットワークのセグメントを分けるためにルーターを複数段設置するなど特別なことでも何でもないです。
恐らくは家庭でのインターネット接続ではネットワークの知識を持たない方でもルーターの設置と設定をしなければならないことから、あえて「二重ルーター」という言葉が使われているのでしょう。
見てきたように、ルーターが複数段になっていることは特段の問題はありません。家庭向けの機器でも十分な処理速度を持っていて、間にルーターが1台入ったくらいでは体感できるほどの速度の低下にはなりません。もしなったとしたら設定がおかしいかそのルーターの買い替え時です。
ネットにサーバーを公開するとか外部から宅内の機器にアクセスするなどをしたい場合は知識が必要になりますが、そういう意識を持った人ならすぐにキャッチアップできるまでにこなれた技術になっていると思います。
ということを認識して、もし勉強するのであればネットの素人記事に頼らずにきちんとした書籍と試せる環境で実践してみることをお勧めします。






コメント
これは参考になりました
WSR-3200を購入してしまい困っていました
早速してみます
お役に立てましたら幸いです。
最新のファームウェア(1.22)はまずまず安定していますので、もし未適用なら試してみてください。
お返事ありがとうございます。
ネットワーク関係は万年初心者なのですごく不安でした。
わかりやすく解説してあったので、やってみようと思う意欲が湧いてきました。
毎回ファームウェアにはがっかりさせられていて、あまりいいイメージがありません。
アドバイス通りファームウェア(1.22)を適応しました。
あれ?APモードでも安定?
大丈夫そうです。HGWのDHCPでAPモードで大丈夫そうな手応えです。
アドバイス、ありがとうございます。非常に助かりました。
参考までに私の場合はWSR-3200付属のLANケーブルが悪さをしていたようです。
規格不明のケーブルでした。
エラーログを参考にサンワサプライの単線BAT6Aに交換しましたらHGWと本機の通信のエラーが無くなりました。
ここにたどり着いて困っている方の参考になれば幸いです。